
2026 Chicago Regional Bridge Building Specifications
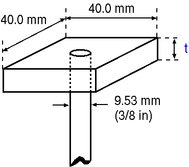
Figure 2: Loading Plate Detail (not to scale). The square loading plate
is 40 mm wide and deep and a thickness (t) of between 6. mm
and 13. mm. A threaded rod of up to 9.53 mm (3/8 inch)
diameter is attached from below to the center of the plate.
Last update: October 27, 2025
[ Bridge Contest Home ] [ International Contest ] [ Chicago Regional Contest ]
[ Region Locator ] [ Official Documentation ] [ Other Bridge Links ]
For further information, contact: Prof. Carlo Segre -
segre@illinoistech.edu,
Illinois Institute of Technology
© International Bridge Building Committee, 2024